未來感滿滿!蘋果欲用可拓展指環打造智能交互新方式
發布時間:
編輯:
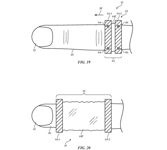
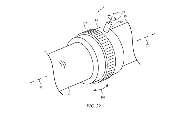
近日,據外媒AppleInsider報道,蘋果公司在周二獲得美國專利商標局授予的名為“可擴展環設備”的專利中,稱智能指環的大小不一定是靜態的,可以將指環擴展成更長的管子,該管子可以覆蓋更多的手指,包括一些指關節。從目前已有的信息來看,該智能指環對于已有的智能產品的交互方式有著比較大的突破。

蘋果智能指環新專利(圖源來自AppleInsider)
該智能指環作為分布式系統的物理外設,既可以控制手機、電腦、耳機等其他智能設備,從而替換力反饋手套或替換智能手機中的觸覺反饋系統,以節省元器件空間并減少手機本身電量消耗。同時又可以采集體感數據(如血氧、血壓、運動軌跡、身體姿勢)幫助檢測用戶的增強現實或虛擬現實運動。

但由于尺寸問題,在控制的精確度上是一個較大的挑戰。為此,蘋果提出,該產品可以在主戒指外殼上安裝其他可旋轉的按鈕和其他輸入元件,從而拓展更多的功能。不過從目前來看,指環本身的功耗與續航可能會成為一個很大的技術挑戰。
下一篇 :
安卓手機發燙的原因都在這里




